נפלה לה מזוודה על הראש - וגילו לה סרטן במוח
לורן בת ה-29 חגגה קידום בעבודה וקניית בית עם בן זוגה, ואז קרתה תאונה ששינתה את חייה. מזוודה שנפלה לה על הראש הובילה לאבחנה בסרטן סופני במוח - שמותיר לה רק שנים בודדות לחיות

רגע לפני שגילו לה גידול במוח, לורן מקפרסון בת ה-29 הייתה בתקופה נהדרת: היא בדיוק צלחה מבחן לקבלת קידום בעבודה, וקנתה בית יחד עם בן זוגה זאק. כדי לחגוג את החדשות המשמחות, לורן תכננה לעשות כמה וכמה דברים, שאחד מהם הוא לנסוע לפסטיבל מוזיקה. ברכבת בדרך חזרה מהפסטיבל אל ביתה שבקרדיף, ויילס, קרתה תאונה: על ראשה של לורן נפלה מזוודה במשקל של מעל 32 קילו. והתאונה הזו שינתה לחלוטין את מסלול חייה.

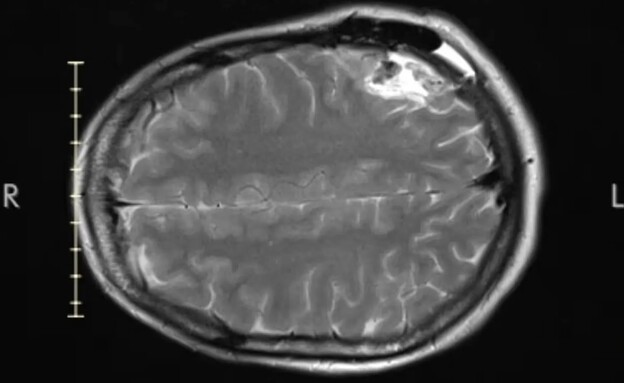
לורן נלקחה לבית החולים, שם עשו לה CT ראש. בתוצאות הבדיקה הרופאים הבחינו במה שנראה כמו צל במוח שלה - ומשם הדרך הייתה קצרה לאבחנה הקשה: סרטן המוח. ללורן נאמר כי המחלה סופנית, וכי נשארו לה בין 10 ל-12 שנים לחיות.
״זה כאילו הרצפה נשמטת מתחת לרגליים שלך״, שיתפה לורן. ״את לא יודעת מה לעשות. זה נורא״. האבחנה הפתיעה אותה: היא אמנם סבלה מעייפות קיצונית, בעיות בעיכול והתקפי שכחה במהלך השנה האחרונה, אולם ייחסה אותם לשינויים הורמונליים או להפרעת קשב וריכוז לא מאובחנת. ומצד שני, עם קבלת האבחנה האיומה היא גם הרגישה ״כמעט הקלה. למען האמת, הייתי די נאיבית… הייתי מודאגת, אבל בנקודה הזו לא פחדתי. לא חשבתי ׳זה בלתי ניתן לריפוי׳, חשבתי רק: ׳הם מצאו את זה, אז הם יוכלו להיפטר מזה׳״.

חודש לאחר מכן לורן חזרה לבית החולים, ושם קיבלה חדשות גרועות אפילו יותר. הרופאים התעמקו בתוצאות הבדיקה שלה, ושינו את אבחנתם - לפי החשד החדש שלהם מה שיש לה הוא גליובלסטומה, גידול סרטני אלים ומתקדם במוח. המשמעות היא שתוחלת החיים המוערכת שלה תהיה כנראה קצרה יותר ממה שנאמר לה קודם. ״לא ציפינו לזה״, שיתפה לורן. ״ואז זה הכה בי. זה הרגע שבו את מבינה, ׳אלוהים אדירים, יש מצב שאני מסתכלת על [תוחלת חיים של] שנתיים׳״.
לורן השתמשה בביטוח הבריאות של בן זוגה כדי לעבור ניתוח להסרת הגידול במרפאה פרטית באוקטובר האחרון. הרופאים הצליחו להסיר 80% מהגידול במוחה של לורן, אבל הצרות לא הסתיימו שם. תוצאות ביופסיה הראו כי ללורן יש אוליגודנדרוגליומה בדרגה 2, סוג של גידול במוח שנמצא בשלביו הראשונים. שלה נמצא באזור במוח שאחראי על דיבור, מה שגרם לה לאובדן יכולת הדיבור ולאובדן של מרבית התפקוד הקוגניטיבי שלה.

איך מרגיש לעבור אסון כזה? ״זה כאילו מישהו נתן לי מוח חדש״, סיפרה לורן. ״זה היה כל כך מוזר. שום דבר לא היה הגיוני. לא הרגשתי כמו עצמי. לא הערכתי נכון כמה קשה יהיה החודש הראשון, רק רציתי להתחיל להרגיש בסדר״.
לורן מצאה ברשתות החברתיות אנשים שעוברים תלאות דומות, ודרכם הגיעה לתרופה חלופית בשם וורסידניב, שאושרה לשימוש ב-NHS (שירות הבריאות הלאומי) בסקוטלנד, אך לא בוויילס, אנגליה וצפון אירלנד. ״ראיות מניסויים קליניים מצביעות על כך שהטיפול בוורסידניב יכול להאט את התקדמות הסרטן, אבל אין ראיות ברורות לכך שהוא עוזר לאנשים לחיות זמן רב יותר״, אמרה ממשלת ויילס ל-BBC. נכון לכרגע, לורן עוברת צילום פעם בשלושה חודשים כדי לבחון את מצב הגידול, וצפויה לקחת וורסידניב שתשיג באופן פרטי.

״כל הסיפור היה קשה עבורי, אבל הוא היה קשה אפילו יותר למשפחה שלי״, אמרה. ״אני חושבת שכולם תמיד אומרים ׳הלוואי שזה הייתי אני ולא את׳, אבל באמת יכולתי לראות שהם מתכוונים לזה, הכאב התמידי בעיניים שלהם… זה היה ממש ממש קשה, אני לא מאחלת לאף אחד להתמודד עם זה״.